(写真1)完成したプロトタイプ
(側面)
2025年1月、プロトタイプが完成した。(写真1)
ボディーは1964年10月に完成した当時の仕様、ヘッドは80年代の仕様なのでアンバランスではあるが...
しかしこのプロトタイプは完成版を作るための実験機なので、いろいろ違っている箇所がある。
製作開始直後は違っているところが見つかると、初めからやり直しを繰り返していたがオリジナルとの違いを確認する上でも、一度作り上げようと決めた。
そして、製作にあっては極力ブライアンが採用したであろう手法に近い方法で作ってみた。"No CNC!"
設計図を書いている段階では気づくことが出来ない作業工程などを実験しながらの工程であった。
作りながらも、次々と発見される「ブライアンがレッド・スペシャルに込めた根拠」を反映させつつ、設計図を書き上げた。
(写真2)プロトタイプの設計図(※寸法や基準線を消した簡易版)

(写真3)レッド・スペシャルの設計図
RS本の表紙カバーを捲るとブライアンの言葉が書かれている、「僕はゼロからギターを設計した。」と。
現代の作図手法は、CADを用いるが、当時は当然ながら「手書き」である。
(写真3)では、設計者として最初に引くと思われるギターの芯線に用紙の合わせ目を代用している。
ボディーやネック、ヘッドの形状や各パーツの配置点などレッド・スペシャルの設計図に書かれた線には、必ず何らかの根拠があるはずであり、
自分の作図にもこの根拠を反映させたい。
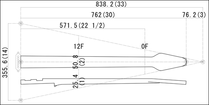
ブライアンが書き上げた設計図(写真3)からはボディーとネックの接続部分を20フレットと設計していることが分かる。
また、RS本34ページにある、ブライアンがフレット位置を計算した表から、20フレット~ブリッヂは7.558インチ(191.973mm)と書かれている。
このブリッヂ位置は、0フレットから24インチの位置であるが、実際のブリッヂ芯はテール側に1/8インチほどズレる。ではそのズレをブライアンはどのように設計したのか。
以下の(写真01-1)、(写真01-2)、(写真01-3)は、3種類のコピーモデルの写真である。
正確性を担保するために、0フレットに1インチの目盛りを合わせてあるのでブリッヂ上で見えている25インチの目盛りは実際には24インチである。
(写真01-1)
(写真01-2)
(写真01-3)
(写真01-4)
(写真01-4)は、レッド・スペシャルの写真にスケールを当てて計測している。
上3枚の写真と同様に、25インチの目盛りは実際には24インチである。
この写真で見えるブリッヂ位置は、基準とするボディー表面からブリッヂの高さ分だけカメラに近いところ(ボディー表面より高い位置)で描写されているので、ブリッヂ天端がテール側(左側に)に引っ張られているのが分かる。
詳細な検討手法は割愛するが、カメラの位置を想定して計算した結果、1.697mm右側に戻す必要があり、本当のブリッヂ芯は、24+1/8インチ(612.775mm)あたりになりそうである。
この結果を一つの可能性として作図を進めてはみたが、何かもう一つブライアンがブリッヂ位置を決めた根拠が弱いように感じる。
(写真01-5)
「14インチ」
ブライアンがボディー幅としたこの寸法は、作図を進める中で気になっていた寸法である。
12フレットを中心に、半径14インチの円を書くと、ボディー幅との2か所の交点と、12フレットを頂点とする1辺14インチの正三角形ができる。
この高さを求めると、14/2√3=12.12435インチ(307.959mm)となる。
これを根拠に、ブライアンが書いたブリッヂ芯は、0フレットから612.759mmと決定する。
(写真01-6)
コピーモデルの画像の測定では、24インチ+1/8インチ(3.175mm)程度と見える位置は、写真01-6のように、+3.159mm、
その差0.016mmなので、手書きの図面からはその差は見えない。
「空気の振動を通して、“よりうまくフィードバック”するギター」(RS本より)を設計していたブライアン。
もしかしたら、逆のアプローチで、正三角形の底辺(ブリッヂ位置)の長さ14インチをボディー幅として採用したのではないだろうか。
これにより、ブリッヂ位置はボディーとネックとの接続位置(20フレット)から195.132mmの位置として設計を進める。
ブライアンが行った工程では、潜水艦パーツを利用した設計の後にナイフエッヂ仕様に変更しているが、 ここでは完成形から遡って追求していくこととする。
ブライアンが書いたと思われる新システムトレモロユニットの図面 (写真02-1)
トレモロプレート芯はブリッヂ芯から2+1/2インチ後方、トレモロプレート芯からナイフエッヂの刃の先端までは1/8インチとした。 ナイフエッヂのボディーへの埋込深さは、ナイフエッヂの厚みが1/8インチであることから、 半分の1/16ボディー表面から下がった位置が刃先の深さとなる。(このとき、ボディー表面とは突板を貼る前のラミンボード表面とする)
(写真02-2)
面白い発見があったのは、トレモロユニットの断面図を書いた際の高さ関係の寸法である。
テコの原理を利用したこの最終形のトレモロシステム。
ナイフエッヂ先端を「支点」、アームバー取り付け高さを「力点」、スプリング芯を「作用点」としたときに、それらの距離、支点~力点、支点~作用点が1:1(5/8インチ)として設計されている。
これは、アームバーに加えた力と同じ力がスプリングに働くということになる。
このトレモロシステムは潜水艦パーツをあきらめて変更を行っていることから、
このシステムの採用はレッド・スペシャルを作りながら設計変更を行ったものと考えられる。
設計変更後のトレモロユニットが納まるキャビティー内に、潜水艦パーツを埋め込んだときの痕跡が多く残されている。
潜水艦パーツ(写真03-1)
(写真03-1)の潜水艦パーツを人の顔に見立てた時に、
顔幅:直径3インチ(両耳の出張りを除く)
両耳幅:3+1/4インチ(両サイドのマイナス平ビスを含む)
頭から顎下まで:3+5/8インチ
と想定する。
(写真03-2)
(写真03-2)のナイフエッヂの影の周りにうっすらと浮かび上がる直径3インチの円形。
顎の部分は設計変更後のトレモロユニット用の座彫りにより消えている。
潜水艦パーツの位置はブライアンが「自分で取り付けた」と話しているステンレスチューブの芯を基準としたと思われ、ブリッヂ芯から2インチ後方である。
高さは弦が接するローラー上端をボディー表面から5/16出していると思われ、 埋込深さはブライアンの設計通りとして、ボディー表面から1インチ(写真03-3)、これはロアオーク表面から 1/4インチ彫り込んだ深さとなる。
(写真03-3)
ブライアンが設計した3つのピックアップの設置位置の根拠とはなにか。
(写真04-1)
ブライアンが最初に設計したのは、Eclips社のボタンマグネットを使った自作のPUである。
PUのサイズは、RS本30ページにあるブライアンが書いた設計図から、外形は、2+5/8×1+1/16インチのオーバル形。
厚さはトップのホワイトプレートを含めて、1/2インチ。
マグネットの直径は1/2インチである。
(写真04-2)
3つのPU配置の特性を引き出すために、ブリッヂPUはブリッヂに、ネックPUはフィンガーボードに極限まで寄せて、
両PU間の距離を可能な限り離したかった意図が読み取れる。
(写真04-2)からは、Tri-SonicPUの位置は、EclipsPUの位置と比較してネックPUは僅かに前に、ミドルPUは明らかに前に、
ブリッヂPUは途中位置変更を行っているが、最終位置はEclipsPUと同じ位置に戻していると思われる。
「空気の振動を通して”よりうまくフィードバック”するギター」(RS本より)を根拠に、PUの配置はフィードバックが出やすい位置を狙っているのではないかと推測する。 ナチュラルフィードバックは弦長の1/2,3,4で出やすいことから、分母の2,3,4の倍数も検討しながら探ってみる。
(写真04-3)
ブリッヂPUの位置
まずは比較的根拠が見つけやすいと思われるブリッヂPUの位置決めから。
(写真04-3)ではブリッヂ下に挟まれたピックガードがEclipsPUの形状に合わせて削られたラインが見える。
そしてこの削られたピックガードの形状に合わせてEclipsPUを図面に配置したところ、ブリッヂPU芯は60フレット上(0フレットから23+1/4)となり、これは理論上の24インチスケールの1/32にあたり1stハーモニクスの位置となる。
これを根拠にブリッヂとの位置関係はEclipsPU、Tri-SonicPUともにブリッヂの手前22.209mm、理論上の24インチから3/4インチネック側を芯として配置する。
中間期のブリッヂPUの位置
ブリッヂ側のTri-SonicPUの位置としてはもう一つ、中間期の位置というのがある。(写真04-2)に7.5mm程ミドルPU寄りに中間期のPU固定用の耳部分の堀込とビス穴が見える。
おそらく、エスカッションの幅が7mm強あるため、ミドルPUと同様にエスカッションを切り欠くことなくブリッヂを避けて設置しようとするとこの位置になる。
(写真04-4)
ピックガードを裏側からみた(写真04-4)では、中間期Tri-Sonic位置に合わせて孔をあけたラインが確認できるが、この位置はネック材のエンドライン(24フレットから114.3mm[4+1/2]後方)と一致する。
その後、ブリッヂエスカッションを切り欠いて60フレット位置に合わせて後方に移動することにしたと思われる。
このような推測から中間期Tri-Sonicは、ブリッヂPUから5/16インチ(7.9375mm)前にあるとした。この位置は54フレット上にあたり、弦実長の1/20にあたる。
(写真04-5)
ネックPUの位置
Tri-SonicPUの位置は24フレットから26.75mm(1+1/16)の位置でM3rdのハーモニクスを狙っていると思われる。
EclipsPUはその幅の広さから、フィンガーボードに極力近づけて設置しているが、ハーモニクスが出る位置からは
少し離れてしまったのではないかと推測する。
ブライアンが書いた設計図のようにフレットエンドを直線とすれば、もっと24フレットに近づいたと思われるが、 このRを付けた設計変更の意図は謎である。
ミドルPUの位置
ブリッジPU前後期及びネックPUの位置を特定したところで、ミドルPUの位置出しを行う。参考にしたのは、(写真04-2)の座彫り形状。まずは、Tri-SonicPUの位置出しから。
公開されている多くの画像から、Tri-SonicミドルPUの位置はネック、ブリッヂPUの中間に配置されていると思われる。
最終形のTri-SonicのネックPU~ブリッヂPU間の距離が106.6mm、ネックPUは24フレットから26.75mmとしたことから、ミドルPUの24フレットからの距離は26.75+(106.6/2)=80.05mmとした。
次にミドルEclipsPUの位置出しを行う。
(写真04-6)
(写真04-7)
(写真04-8)
画像の情報が少ないが、(写真04-6)と(写真04-7)の画像を見ると、ミドルPUは僅かにブリッヂ側に寄っているように見え、
(写真04-8)のTri-SonicPUを基準とするザクリ形状では、はっきりとブリッヂ側に寄っていることがわかる。
この(写真04-8)のザクリ形状を根拠として、EclipsPUは後方に、1.48mmズラして配置することとする。
この位置は、37フレット上に近い。
(写真05-1)
(写真05-1)には、1,6弦と各Tri-SonicPUの距離が、
1弦(009) 6弦(042)
ネックPU: 3.5mm 4.0mm
ミドルPU: 2.5mm 3.0mm
ブリッヂPU: 1.0mm 1.5mm
と書かれており、恐らく0.5mm刻みのメモリのあるスケールを使っての計測ではないかと推測する。
1弦と6弦の差が0.5mmとなっているが、これは、6弦のブリッヂ駒の下に小さなシムプレート(おそらく厚み0.5)が挟まれていることによるものであり、
各PUはボディー表面に対して水平に取り付けられていると思われる。
しかし、この「弦を基準とした高さ」を参考に設計図を作成したものの、実際に弦を張ってみると、ネックに弦の張力による順反りが発生し作図通りにはならない。これをあらかじめ設計図に表現することは難しく、また、008と009の弦の違いでも張力は違ってくるが、ネックの反りを計算することはできなかった。
(写真05-2)
ブリッヂ下のプレート厚み
ネックの反りを考慮しない設計図では、断面図上24フレット位置での各弦との間隔は、1弦2.0mm、6弦2.5mmの高さを狙うと、
(写真05-2)に見えるブリッヂ下に敷く2枚の金属プレートの厚みは、3.0+2.5=5.5mmとなった。
これは、(写真05-2)から割り出した厚みよりも1.5mmほど高くなってしまうが、実際に弦を張りネックに順反りを出して、高く浮いた弦を低く戻したところ、プレートの厚みは2.5+1.5=4.0mmとなり、(写真05-2)の厚みが再現できた。このとき、ネックの順反りの数値はヘッド先端で2.9mm~3.0mm程度となっている。
EclipsPUボディーザクリの深さ決定
弦の高さが決定できたので、各EclipsPU の高さを検討し、ボディー座彫りの深さを決定する。
EclipsPUと弦の高さ関係が分かる資料が見つけられないため、Tri-SonickPUと同じ高さと仮定する。
EclipsPUの製作の詳細については、別の項目で書くのでここでは割愛するが、PUの高さは1/2インチである。
各PUを断面図に記入すると、ボディー表面からの座彫り深さは、ネックPU=5.709mm、ミドルPU=3.365mmとなるが、この関係性でブリッヂPUを配置するとボディー表面から浮いてしまいザクリは不要という結果となってしまう。
(写真05-3)
しかし、(写真05-3)からは他のPUよりも深く座彫りされていることが分かる。
また、6BAのヘキサゴンナットを見ると、
ネック材にアンカーされているネック・ミドルPU用のナットと、ボディーにアンカーされているブリッヂPU用のナットは、
天地を反転させて埋め込んでいることが分かる。
ここでRS本30ページに書かれている、ブライアン自筆のEclipsPUの設計図を見てみると、6BAヘキサゴンナット部分を抜き出した詳細図に、PUのベースプレートとボディー表面の間に「Copper Spring」という書き込みが見える。
これを根拠として、ブリッヂPUのみを他の多くのギターで採用されているような、高さ調整が可能となるようにスプリングを挟んだ設計としたのではないかと推測する。
入手したスプリングの高さが4.2mmなので、高さ調整の可動域を3mmと仮定して、座彫り深さをボディー表面から1/8インチとした。
ブライアンは、この2個のノブと6個のスイッチの配置をどのように設計したのだろうか。 ブライアンが作図をした根拠を探してみたい。
(写真06-1)
「レッド・スペシャルのボディーの外形に楕円があるのではないか?」は以前からなんとなく感じていた。
ボディー幅を14インチとして作図したところ、その楕円寸法は長軸半径7インチ、短軸半径5+3/4インチとなった。
楕円の中心はブリッヂの後方1+1/4インチにある。
この、1+1/4インチにはブライアンの拘りがあると思われ、0フレットからヘッドの折曲がり点がこの寸法になっており、
改めてその項目で触れたい。
この章で明らかとしたい2個のノブと6個のスイッチの配置について。
(写真06-1)を見ると、2個のノブはボディーラインの縮小楕円上に載っているように見える。
(写真06-2)
ボディー外形の長軸半径と短軸半径をそれぞれ、1+3/8縮めて、5+5/8と4+3/8としたところ、ピタリとライン上に乗った。
そして、6個のスイッチのうち、ブリッヂPUのフェイズスイッチもその楕円上にあり、トレモロユニットの芯との交点に乗っていることが判明した。
更に面白い発見があったのは、3つのフェイズスイッチが並んでいるラインである。
ブリッヂPUフェイズスイッチ中心と0フレットを結んだライン上にミドルとネックのフェイズスイッチが乗っているようである。
PUのON・OFFスイッチはフェイズスイッチと平行に1+1/8インチのライン上であると思われる。(写真06-2)
ブライアンは「PUを取り外し可能にしたかった」と言っている。
Tri-SonickPUに載せ替え後は、PUからのリード線はボディー表面に彫った溝を使い、ボディーコンター内に立てられた6本の金属の棒にハンダしているが、EclipsPUのときの配線は、埋め込まれた6BAヘキサゴンナットにPUを固定すると、自動的にシグナルの導通がされるようになっている。
(写真07-1)
(写真07-1)では、ネック及びミドルPUの固定用ナットに、赤と青のケーブルがハンダ付けされているのが分かる。
ヘキサゴンナットの向きは、6角形をしている方が上になっている。
(写真07-2)
おそらく、ブライアンが設計した初期の計画では、6BAヘキサゴンナットの筒状部分(写真07-8参照)に穴を開けて、そこにケーブルをハンダ付けする想定をしていたのだと思われる。
(写真07-2)では、ネックの裏側に貫通させた穴と、そこからボディー内コンターに向けて配線を埋め込むための溝が見える。
(写真07-3)
(写真07-3)では、この配線がロアコアオークに接触していた跡が見える。
しかし、ネックに埋め込まれたナットから出されたケーブルがボディー内コンターに繋がっていると、ネックがボディーから分離できなくなってしまう。
ネックを外す際には、ネックにケーブルが繋がったまま分離できるような設計となっていたはずである。
(写真07-4)
(写真07-4)では、ブリッヂPU用固定ナットに黄色いケーブルがハンダ付けされているのが分かる。
ヘキサゴンナットの向きは丸い筒状の部分が上になっており、ネック・ミドルPUとは天地が反対に埋め込まれている。ナットの筒状の部分にケーブルをハンダ付けするというには共通仕様のため、ブリッヂだけ天地が反対になったと思われる。
(写真07-5)
(写真07-5)ではブリッヂPUの配線がボディーコンター内に貫通しているのが分かる。
ブリッヂPUはネックに乗っていないため、この配線はピンに固定してしまっても、PUの取り外しには影響しない。
(写真07-6)
(写真07-6)は1998年1月29日に、おそらくグレッグ・フライヤー氏による修復時に撮影にされたと思われる画像である。
ここに写る、各PU2本ずつ、計6本の金属のピン。
このピンによりPUとスイッチのシグナルを中継していたと思われる。
(写真07-7)
(写真07-7)では、ピンにネジ山が見えることから6BAの全ネジであると思われる。
この全ネジを利用して、取り外し可能なEclipsPUの機構を構築しているのではないか?
全ネジの材質はおそらくブラス製。
(写真07-8)
(写真07-8)は、6BAヘキサゴンナットのセット。
6ペンスコインの左にあるのが6BAの全ねじ。
コインの直径が3/4インチであることから、全ネジの長さは、1/2インチ程度か?
右端のナットが、筒状の形状が特徴的な6BAヘキサゴンナット
EclipsPUのときの配線
現在、公開されているのは、Tri-SonicPUに載せ替えた後の画像であり、EclipsPUのときの配線は残された情報から想像しながら設計する必要がある。レッド・スペシャルの設計当初からの条件である「ネックは取り外しが可能である」をブライアンはどのように設計したのか。
ネックに埋め込まれたヘキサゴンナットにハンダ付けされたケーブルが、(写真07-2)と(写真07-3)を根拠に、ネック裏を通りボディーのコンター内に出されていたのだと想定する。
しかし、コンターに出されたケーブルをTri-SonicPUと同じように6本のピンにハンダ付けしてしまうと、ネックがケーブルによりボディーと繋がれてしまい外れなくなってしまう。
(写真07-9)
(写真07-9)に、6本のピンの間に小さな穴が見える。
今は使われていないが、当初何かの目的で開けられた穴ではないか。
そしてこの穴に取り付けられた何かが、ネックが取り外せる機構を成立させていたのではないか。
ブライアンがネックとヘッドの設計に込めた根拠を探したい。
(写真08-1)
自分の設計では(写真08-1)のように作図した。
(写真08-2)
ヘッドの形状の決定
フライヤー氏公開の(画像08-6)は、主に0フレットを基準とした各部位までの測定結果やヘッド形状はペグ位置の情報が書かれており、大変参考となった
(写真08-3)
(写真08-3)に見えるヘッドの両サイドのラインは、(写真08-1)の二等辺三角形の斜辺としており、ヘッドが切り取られているラインは、
その頂点から3インチの位置ではないかと思われる。これを正とすると、ネック+ヘッドの合計長さは30インチとなる。
ネックエンドの位置の決定
(写真08-4)
ネックエンドの位置は、ブリッヂPUの手前までボディーに深く入り込んでいる。その位置はどこか。
ここで、「ピックアップ位置の決定」で書いた、経緯が不明だったブリッヂPUの中間期の位置が大変参考になった。
(写真08-4)で見えるように、ネックポケットの座彫りが中間期のTri-SonicPUの座彫りに僅かに入り込んでいる。
このネックエンド位置は0フレットから22+1/2インチ(571.50mm)である。(写真08-1参照)
ネック幅についての考察
RS本に書かれている「レッド・スペシャルの仕様」には
・ナット幅:46mm
・12フレット幅:50mm
・24フレット幅:53mm
・ブリッヂ位置の弦幅:51.5mm
と書かれている。
しかし、ナット幅46mmと24フレット幅53mmを結ぶと12フレットでは50.70mmとなり、公表された50mmではネックサイドが直線にならない。
この測定値について、ブリッヂでは0.5mm刻みとしているものの、フレット幅は3か所ともに1mm刻みとなっているが、
0.1mm単位で計測されれば違った計測値となると思われる。
ネック厚みについての考察
ネックの厚みについての情報は非常に少ないが、以前、オリジナルレッド・スペシャルに1番近いとされているコピーモデルを実測した際に、
12フレットの厚みが25.48mm(フィンガーボードを除く)の半円形であった。
ブライアンはネック形状について、RS本では「自分の古いアコースティック・ギターのものを参考にした。」また、削り出す際に「ネックの厚みに指板の厚みが加わることを忘れていた」「ネックは自分が思っていたよりも厚みがあるものに仕上がったけれど」と言っていることから、はっきりとした寸法を決めて削り出したのではないのかもしれない。
しかし、自分の作図においては、12フレット位置で偶然計測された幅50.70mmと厚み25.48mmから、
ブライアンが設計したのは、幅×厚み=2×1インチ(50.80mm)×(25.40mm)の半円形とした。(写真08-5)
(写真08-5)
偶然にこの形状になったのかもしれないが、いかにもブライアンらしい設計に込めた拘りのようにも感じる。
また、この仮説を基にしたところ、ネックヒールの接木(後章参照)の厚みとヘッド裏ボリュートの形状を再現できた。
ネックヒールの接木について
ネックヒールには接木のラインがはっきりと見えている。(写真08-6、写真08-7)
(写真08-6)
(写真08-7)
(写真08-8)
ネックをわざわざ接木とするメリットはないと思われるが、ブライアンは何故接木としたのか・・・?
おそらく、友人の家の解体時に入手したと言われている「暖炉のマントルピースのマホガニー」の厚みが足りなかったのではないかと推測した。
更に、マホガニーの表面を平滑に整えるために両面を薄く削っていると思われ、完成したネック材の厚みは1+1/4インチ(31.7mm)となったのではないかと推測する。(写真08-8)
(写真08-9)
ネックからヘッドの折曲がり点の決定
フライヤー氏の実測図では、折れ曲がり点は0フレットから1+3/16インチ(30.1625mm)と読める。
ここでふと気になったのは「6個のスイッチとボリューム・トーンノブの位置の決定」で触れた、ボディー楕円の中心点である。
ブライアンは、ブリッヂ後方1+1/4インチ(31.75mm)にある楕円の中心までの距離を反転させて、0フレットからのネックとヘッドの折曲がり点に置いたのではないか。
(写真08-10)
フライヤー氏実測値1+3/16インチ(30.1625mm)と想定する設計寸法1+1/4インチ(31.75mm)の差は1.5875mmと誤差としては
大きい数字である。しかし、ネックとヘッドの角度が4度であることを基に作図すると、ヘッド表面を0.11mm低く削るとフライヤー氏実測の30.1625mmとなる。
また、写真08-10に写る光の反射による折れ曲がり線は、1弦側のヘッド表面を低く削ったことにより斜めになっており、0フレットからの距離は一律ではないことが分かる。
次に断面図からブライアンの設計を紐解いてみる。
(写真08-11)
ブライアンは必ず何らかの設計をして形を決定しているはずであるが、断面形状に関する情報が非常に少なく、
全ての条件が符合する形状を見つけるのが非常に難しかった。
その条件とは...
(1)ヘッド表面の折曲がり点
(2)ヘッド厚み(芯)
(3)ナット位置 などである。
(写真08-11)では次のように設計した。
・0フレットから1+1/4インチの位置でヘッド表面が4度で折れ曲がる。
・ヘッド厚みを5/8インチと仮定し、その芯とトラスロッド芯の交点を仮定する。
・その交点からネック表面に対して垂直に立ち上げたラインにナット面が合う。
ナットの厚みは、手元にあったトレイ状の製品の厚みがそのまま使われているのではないかと思われ、設計により決定した厚みではないと推測する。
このことから、ブライアンの設計では写真08-11を作図しているが、実際の製作時に表面が0.11mm低く削られたことにより、ヘッド折曲がり点が1.5875mmだけ0フレットに寄ったのではないかと推測する
修復前の0フレット(写真09-1)
RS本72ページに「レッド・スペシャルのフレットは1度も打ち直していない。唯一交換したのは、0フレットでスペアのものは箱に入れて保管してあった」と書かれている。
RS本70ページの写真説明に「0フレットは取り外してある」と書かれている。
(写真09-2)
この0フレットが外された(写真09-2)に、いくつかの違和感を覚える。
1、なぜ、0フレットだけが外されているのか?
2、ナットを外さないで、食い切りが使えたのか?
3、なぜスロット(溝)にはスタッドを引き抜いたときの傷が出来ないのか?
この3つの疑問を解決する解として、下記のように推測する。
「0フレットは取り外し式」である。
0フレットは6本の弦により常にフィンガーボードに押し付けられているのでスタッドにより食いつかせる必要がない。つまり、すべての弦を外してしまうと、0フレットは外れてしまう。
あるいは、外れやすいと推測する。(ブライアンは張り替えられた直後の音を嫌い、一度にすべてを張り替えることをしないと読んだことがあり、
普段は、0フレットが外れてしまう心配はないと思われる)
修復後のネック (写真09-3)
(写真09-3)の修復後のネックを見ると、外された0フレットが、
長年の使用により研磨された溝もそのままに再取り付けされていることからも、
レッド・スペシャルの0フレットは取り外しが可能であると結論付けた。
0フレットの材質はステンレス?それともニッケル?
トレモロを多用するブライアンの奏法。
0フレットは他の24フレットと違い、トレモロを使うたびに6本の弦の摩擦により摩耗する。とすると、摩耗に強いステンレスか?
そもそも、1963年ごろにステンレスのフレットは存在していたのか?
ステンレスとニッケルによる音質の違いもあるとのこと。だとすると、開放弦の音質が変わることを嫌って摩耗よりも音質を選択しニッケルにしたのではないかと想像する。
削れることを前提としてあらかじめスペアのフレットを用意しておいたのではないか。
フレットのサイズ
0フレットは他の24本と比較すると幅が広くて高い。
代表的なメーカーとしては、Jim Dunlop(1965年設立)、Jescar(1977年)、三晃製作所がある。
レッド・スペシャルが製作されたのは1963年だが、どのメーカーも当時はフレット制作を始めていない・・・?
だとしたら、レッド・スペシャルに使われているフレットはどこのメーカーなのか?
今でこそ多くのサイズのフレットが出されているが、当時はスモールフレット、ミディアムフレット、ジャンボフレットの3種類とそれぞれに高い低いがあった程度ではなかったか。
SOUNDHOUSEのサイトには、幅については、2.0㎜→狭い、2.4㎜→標準、2.8㎜→広い、高さは1.0㎜→低い、1.2㎜→標準、1.4㎜→高いとのこと。
Jim Dunlopで当てはめてみると、0フレットはJD#6100(W=2.79mm、H=1.4mm)※ミディアムサイズ、他24本はJD#6150(W=2.55mm、H=1.12mm)
もしくはJD#6130(W=2.69mm、H=0.91mm)かも。
試作機では、Jim Dunlop製を採用し、0フレットに6100、1~24フレットに6150を採用する。
to be continued...